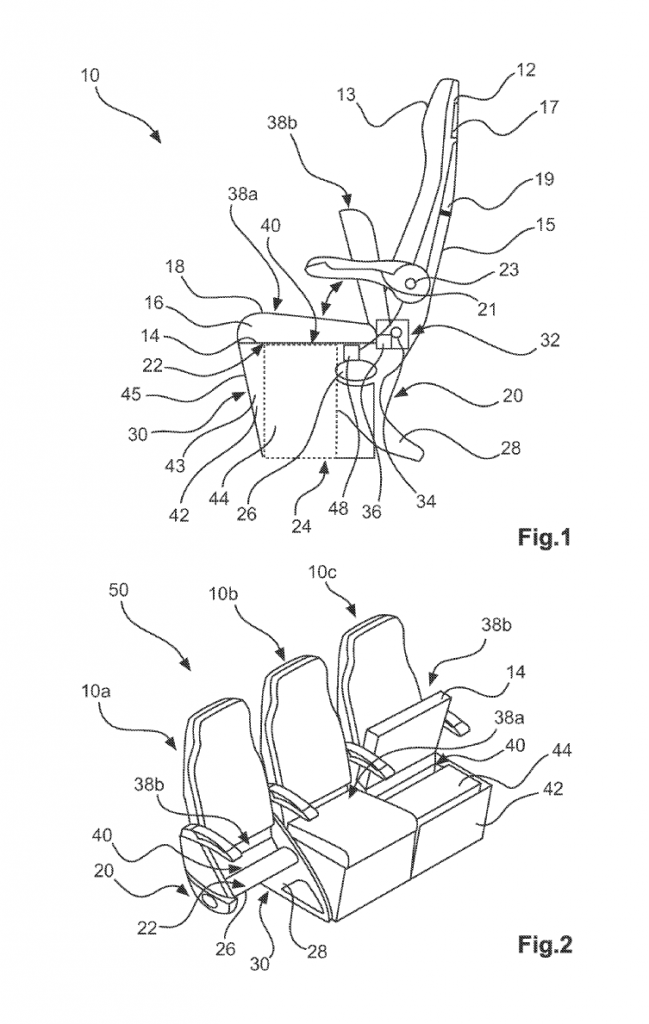
Airbus heeft weer eens een patent ingediend. Dit keer om handbagage van passagiers onder de stoelen op te slaan. Het gebruiken van deze ruimte is volgens Airbus economisch gezien goed omdat alle beschikbare ruimte efficiënt en optimaal gebruikt wordt.
Om handbagage op te bergen, zal een passagier het zitkussen van de stoel op moeten tillen. Vervolgens kan kleine handbagage in de stoel geplaatst worden. Grotere handbagage daarentegen zal nog steeds in de bagagerekken boven de stoelen opgeslagen moeten worden.
Volgens de Franse vliegtuigbouwer zal het economisch gezien dus goed zijn, maar voor de passagiers zal het minder fijn zijn. Doordat de ruimte onder de stoel wordt opgevuld, zal er minder beenruimte zijn.
De vliegtuigbouwer komt vaker met vreemde en futuristische ideeën, zo diende het laatst patenten voor losse cabines en efficiëntere cabine-indelingen in.




Uddel
MBO